기호설명
: 집열기 입출구 온도차[℃]
: 집열기 입구 온도[℃]
: 집열기 출구 온도[℃]
: 집열기 덕트 유속
: 집열기 단위면적당 공기유량[Kg/sㆍm2]
: 집열기 입출구 압력차[Pa]
: 집열기 입구 압력[KJ/kgW/(m2ㆍK)]
: 집열기 출구 압력[Pa]
: 공기 밀도[Kg/m3]
: 공기 정압 비열[KJ/kgW/(m2ㆍK)]
: 집열모듈 면적[m2]
: 모듈 표면 일사량[W/m2]
: 외기풍속[m/s]
: 상대오차[%]
: 집열기 열효율
1. 연구배경 및 목적
정부는 온실가스 배출을 BAU 대비 37% 저감하기 위해 다양한 청정에너지 정책을 발표하였다. 그중 건물 에너지 정책으로 연면적 1,000 m2 이상의 공공건축물에 제로에너지 의무화 정책을 2020년부터 적용하고 있으며, 2025년에는 연면적 1,000 m2 이상의 민간 건물에도 적용될 예정이다1). 건물 신·재생에너지기술 중 하나인 태양열 집열기는 태양의 복사에너지를 활용하여 열에너지를 획득하고, 획득한 열에너지를 건물소비에너지 중 가장 많은 비중을 차지하는 온수 급탕 및 난방에너지에 활용이 가능하며, 건물 에너지소비를 저감시켜 정부의 제로에너지 의무화 정책에 대응 가능한 기술 중 하나이다. 최근 공기식 태양열 집열기는 액체식 태양열 집열기의 겨울철 동파문제 및 여름철 과열문제를 해결할 수 있는 방안으로 다양하게 연구되고 있다2,3).
E.K. Akpinar et al.은 평판형 공기식 태양열 집열기에 3가지 난류 촉진 구조물을 설치하여 성능 실험을 통해 최적의 난류 촉진 구조물을 제한하였고4), G. Tandas는 립(Rib-roughened)이 부착된 공기식 집열기의 열전달 계수와 작동유체의 마찰계수를 구하고 실험을 통해 집열기 성능을 평가하였다5). D. Bahrehmand et al.은 자연대류 또는 강제대류로 작동하는 공기식 집열기의 핀과 집열기 유동패널 길이에 따른 열효율을 수치적으로 해석하고 실험을 통해 수치해석을 확인 하였고6,7), M. B., Amara et al.는 공기식 태양열 집열기를 실내와 실외에서 진행한 성능실험을 비교연구 하였다8).
태양열 집열기의 연구는 국내외 다양하게 진행되고 있지만, 아직 국내에는 국제 표준인 ISO 9806 (2017)9)에 근거한 성능 평가 장치와 성능 평가 연구가 없어 본 연구에서는 활발히 연구되고 있는 공기식 태양열 집열기의 ISO 9806 성능평가 장치를 소개 및 제작하고, Eoxva에서 성능평가에 사용된 ISO 9806 성능 평가 방식으로 성능을 도출하여 국제적으로 성능 평가 및 인증 시험 분야에 신뢰도가 높은 Exova의 성능평가 결과10)와 비교하여 본 연구에서 제작한 성능평가 장치의 신뢰성을 입증하고자 한다.
2. ISO 9806 국제 공기식 집열기 성능평가 기준 및 실험장치 소개
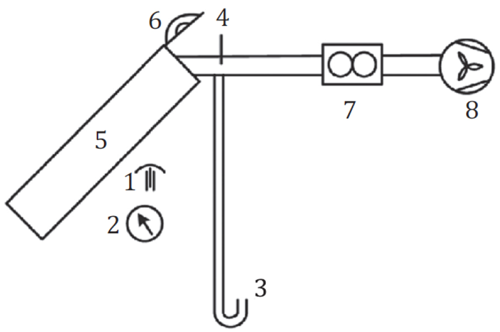
ISO 9806에서 개방형 공기식 집열기는 주위 외기를 흡입하여 집열기에 집열된 태양열과 열교환 하는 타입의 집열기로 명시하고 있으며, 개방형 집열기의 성능평가 장치 개요도는 Fig. 1과 같다. 집열기(5) 전단에 외기 온도 및 압력을 측정 할 수 있게 온도계(1) 및 압력계(2)가 설치되어 있으며 이때 일사에 집적 영향을 받지 않도록 집열기 배면에 설치한다. 집열기 후단에는 감압계(3), 온도계(4), 유량계(7) 및 송풍기(8)를 설치하여 송풍기를 통해 유량을 확보하고 유량계와 감압계를 활용하여 유량 및 감압을 측정한다. 이때 집열기 입출구 온도계는 집열기로부터 200 mm 이내에 설치한다. 일사량은 집열기 표면 직달 일사를 측정하기 위해 일사량계(6)를 집열기와 수평하게 설치하여 측정한다.
일반적인 집열기 성능평가의 외기 온도계의 허용 오차는 0.5℃이고 입출구 온도계 허용오차는 입구와 출구 온도차의 0.2℃으로 명시되어 있다. 개방형의 경우 외기 온도계가 입구 온도계 이며, 출구 온도계와 같이 입출구 온도차를 0.2℃ 이내의 오차를 나타낼 것을 제시하고 있다. 일사계의 허용오차는 10 W/m2이고, 유량계의 허용오차는 2%이다. 주위 외기에서 발생하는 풍속을 측정하는 외기 풍속계는 0.5 m/s부터 측정 가능한 풍속계 사용을 제시하고 있으며 이때 허용 오차는 0.5 m/s이다. 이외 집열기 센서 및 오차는 Table 1에 정리하였다. 성능평가는 실내외 모두 일사량이 700 W/m2 이상 지속적으로 유지되는 조건에서 수행되어야 하며, 시험 작동 시간은 최소 20분을 제시하고 있다. 집열기 작동 유체의 유량은 제조사가 권장하는 작동 구간에서 성능평가가 수행되며, 이때 유량은 1.5% 이내의 변화폭을 ISO 9806에서 허용하고 있다. 외기 풍속 구간 1.0, 1.5 m/s와 3.0 m/s인 안정적인 구간을 선별하여 열성능을 판별한다.
Table 1.
Test sample solar collector schematic sensor and uncertainties
Exova10)는 국제적으로 성능평가 및 인증 시험 분야에 신뢰도가 높은 기관이며, Fig 2와 같이 공기식 태양열 집열기 성능평가를 수행하였다. 2.1에 앞서 설명한 ISO 9806에서 제시한 개방형 집열기 열성능 평가 장치구성과 성능평가 기준을 따랐으며, 실내에서 태양 시뮬레이터를 활용하여 성능평가를 수행하였다. 외기 풍속의 경우 집열기 왼쪽에 풍속 시뮬레이터가 있어 지속적인 외기 풍속 조건을 유지할 수 있고, 수행한 성능평가 결과는 RRT 비교 분석에 활용하였다.
KIER은 Exova에서 사용한 동일한 제품 태양열 집열기로 성능평가를 수행하였다. 검은 색상의 평판형 집열기에 기공이 있어 외부 공기가 기공을 통해 흡입되고, 배면으로 공기가 순환하는 구조이며, 이때 태양의 복사에너지를 흡수한 집열기와 공기가 열교환을 하여 열에너지를 획득하는 메커니즘을 가지고 있다. 연구에 사용한 집열기 면적은 가로 0.96 m, 세로 2.04 m 로 총 1.96 m2이며, Exova의 경우 가로 2.79 m 세로 2.36 m로 총 면적 6.83 m2이다. 집열기는 외기를 바로 흡입하여 사용하는 개방형 집열기이며 아연도금 강판재질로 제작되었다. 태양광 흡수율은 96%, 방사율은 52%이며, 자세한 사양은 Table 2에 정리하였다.
Table 2.
Test sample solar air collector
Fig. 3은 ISO 기준에 맞춰 KIER에서 제작한 공기식 태양열 집열기 성능평가 장치이다. 공기식 태양열 집열기를 단열재 우레탄 판넬 50 mm을 사용하여 제작된 케이싱을 공기식 집열기와 결합하였다. 외부 공기는 집열기 기공을 통해 흡입되고, 집열기와 케이싱 형태의 단열재 사이에 있는 공기채널을 통해 순환 및 열교환 되는 메커니즘을 가지고 있다. 집열기는 전 방위각에서 성능 평가를 수행할 수 있게 조절이 가능하도록 설치하였으며, 설치각은 수평면기준 0°에서 90° 조절이 가능하다.
집열기 유량은 위의 Fig. 4와 같이 집열기 후단 송풍기와 집열기 사이에 압력 트랜스미터와 피토관을 사용하여 압력강하를 측정한 후, 그에 따른 유속을 덕트 관경 0.1 m을 통해 환산하여 계산하여 획득한다. 실제 측정된 데이터와 오차 범위는 약 1% 이며 유속 계산식은 다음과 같다2).
집열기 왼쪽상단부에 공기식 태양열 집열기와 수평하게 일사량 측정 장치를 설치하였으며, 일사량계는 4 mA에서 20 mA까지의 범위로 출력신호를 갖으며 측정범위는 0 W/m2에서 2000 W/m2이고 10 W/m2 이내의 오차를 나타낸다. 외기풍속에 많은 영향을 받은 태양열 집열기 특성을 고려하여 집열기 성능평가 장치 상부에 펄스 신호를 가지는 풍향풍속계를 설치하였고 측정 범위는 0.5 m/s에서 5 m/s이다.
온도센서는 RTD 타입의 온도센서를 사용하였고, 실험에 사용한 집열기는 개방형 타입으로 집열기 입구온도는 외기온도와 동일하다. ISO 9806에 근거하여 외기온도계는 집열기 뒤에 태양에 직접적인 영향을 받지 않게 설치하였으며, 출구온도계는 집열기와 200 mm 이내 거리가 있는 출구 덕트내에 설치하였다. 외기 온도와 출구온도는 RTD 타입의 외기온도계와 덕트 온도계를 사용하여 측정하였으며 두 온도계 모두 0.2℃ 이내의 오차범위를 가지고 있다. 각각의 센서의 오차범위는 ISO 9806에서 제시한 오차범위를 모두 충족시키고 정확한 성능평가 결과를 도출할 수 있다. 실험에 필요한 데이터는 컨트롤 박스 내부에 있는 PLC를 통해 컴퓨터 PC로 전송되고 저장 및 모니터링 가능하다.
3. ISO 9806 열 성능 평가 조건 및 결과
본 연구에서 수행한 성능평가는 2017년 12월에 한국에너지기술연구원 부지에서 수행하였으며, 집열기 방향은 정남향으로 지면과 수직하게 설치하여 성능평가를 수행하였다. 열효율이 안정적으로 나타나는 10분 구간을 선정하고 평균 외기풍속 및 열효율 등 데이터를 분석하였다. 성능평가 유량은 저유량 36.6 m3/(hr·m2)에서 고유량 182.9 m3/(hr·m2)까지 총 4가지 유량을 사용하여 유량변화를 주었고, 평균 외기풍속 조건은 1.0 m/s와 1.8 m/s이며 아래 있는 Table 3은 성능평가 조건 표이다.
Table 3.
Performance test condition
태양열 집열기의 열효율은 집열기가 흡수한 태양 에너지와 집열기에서 열매체 유동을 통해 얻은 유효 열에너지 비로 계산 가능하며 열에너지 생산량은 집열기 입·출구 온도차를 통해 계산 가능하다. 본 실험에 사용된 집열기 효율 계산식은 아래 식(2)와 같다3,9). 열효율 계산에서 밀도와 비열는 온도에 따라 변하지만, 성능평가 온도 범위 영역에서 큰 차이가 없으므로 각각 1.24 Kg/m3, 1.00 J/(Kg·℃)로 일정한 상수 값을 주어 계산하였다.
실험 결과 Fig. 5와 Table 4에 나타내었듯이 열효율은 36.09%에서 72.02%로 변화하였고, 유량이 저유량 36.6 m3/(hr·m2)에서 가장 적은 열효율, 고유량 182.9 m3/(hr·m2)조건에서 최대 열효율 72.02%를 나타내었다. 저유량 36.6 m3/(hr·m2) 조건에서 외기 풍속 조건 1.0과 1.8 m/s의 열효율이 가장 크게 차이를 나타내며 이때 열효율 차는 5.73% 이다. 고유량으로 유량이 증가할수록 열효율 차는 줄어들며 고유량 182.9 m3/(hr·m2) 조건에서 열효율 차는 0.65%로 나타났다.
Table 4.
Wind speed 1.0 m/s thermal performance data
고유량으로 갈수록 두 외기 풍속 조건의 차이가 확연히 줄어드는 것을 나타내고 있다. 저유량 조건일수록 외기 풍속에 의한 대류 열손실이 가장 크게 나타나며, 고유량 조건에서는 외기 풍속에 의한 열손실 조건이 적은 것을 나타내고 있다. 성능평가를 실외에서 수행하였는데, 실외에서는 외기풍속이 지속적으로 같은 양의 풍속이 발생하지 않고 또한 전방위에서 발생하는 풍향에 의해 고유량에서 외기 풍속으로 인한 열손실이 감소하는 것을 확인하였다.
Fig. 6은 외기풍속 1.0 m/s에서 수행한 성능평가 결과와 Exova 결과를 비교한 그래프이며, 고유량에서 Exova 성능평가의 열효율과 약 0.6%의 상대오차를 나타내었으며, 외기 풍속 조건에 가장 큰 영향을 받는 저유량에서 약 5.5%의 가장 큰 상대오차가 나타내었다. 저유량에서 상대적으로 고유량에 비해 큰 차이를 나타내었다. Exova는 실내에서 태양 및 풍속 시뮬레이터를 활용하여 성능평가를 수행하였고, 일정한 풍속을 유지가능하며 집열기에서 외기 풍속으로 인한 열손실이 일정하게 나타난다. 하지만 KIER는 실외에서 태양과 자연에서 발생하는 외기 풍속으로 성능평가를 수행하였고, 상대적으로 Exova에 비해 외기 풍속의 편차가 크며 그로인해 성능평가 결과의 차이가 발생하였다. 일사조건, 외기온도, 입·출구 온도 등 데이터는 다음 Table 5에 정리하였다.
Table 5.
Wind speed 1.0 m/s thermal performance data
Fig. 7은 외기풍속 1.8 m/s에서 수행한 성능평가 결과와 Exova 결과를 비교한 그래프이며, 저유량에서 약 6.4%의 가장 큰 상대오차가 나타났다. 고유량에서 Exova 성능평가의 열효율과 약 2.1%의 상대오차가 나타났으며 상대적으로 저유량에서 일사조건, 외기온도, 입·출구 온도 등 데이터는 아래 Table 6에 정리하였다.
Table 6.
Wind speed 1.8 m/s thermal performance data
RRT 성능평가 분석결과 Exova 성능평가 데이터와 0.6%에서 6.4%의 상대오차를 나타내며 유사한 결과를 나타내었다. 저유량 조건에서 특히 오차가 심하기 나타났다. Exova는 실내에서 태양 및 풍속 시뮬레이터를 활용하여 성능평가를 수행하였고, 일정한 풍속을 유지가능하며 집열기에서 외기 풍속으로 인한 열손실이 일정하게 나타난다. 하지만 KIER는 실외에서 태양과 자연에서 발생하는 외기 풍속으로 성능평가를 수행하였고, 상대적으로 Exova에 비해 외기 풍속의 편차가 크며 그로인해 성능평가 결과의 차이가 발생하였고, 자세한 RRT 성능평가 분석결과는 Table 7에 정리하였다.
4. 결 론
국제 또는 국내에서 공기식 태양열 집열기를 활발히 연구를 진행하고 있지만 아직 국내에 국제 공기식 태양열 집열기 성능평가 기준 ISO 9806에 맞는 성능평가 장치가 없어 본 연구에서 ISO 9806성능평가 장치를 소개 및 제작하였고 성능평가 수행하여 국외 Exova 성능평가 결과와 비교하여 성능평가 장치의 신뢰성을 입증하였다.
(1) 공기식 태양열 집열기 성능평가 장치를 국제 표준 ISO 9806을 참고하여 제작하였으며 일사량 및 온도 센서의 오차범위와 설치위치는 ISO 9806에서 제시한 내용을 충족하였다.
(2) ISO 9806에서 제시한 일사량 및 외기풍속 조건을 충족하면서 열 성능 평가를 수행하였고, 유량과 외기 풍속 조건을 달리하여 열 성능을 분석하였다. 최소 열효율은 저유량 36.6 m3/(hr·m2)에서 36.06%, 최대 열효율은 고유량 182.9 m3/(hr·m2)에서 72.02%를 나타내었다.
(3) 성능평가 수행결과를 국외 유명 인증기관인 Exova에서 수행한 성능평가 결과와 비교하였고, 외기풍속 조건 1.0 m/s에서 최대오차 5.51%, 외기풍속 1.8 m/s에서 최대오차 6.42%를 나타내었으며, 본 연구에서 제작한 성능평가 장치의 신뢰성을 입증하였다.
본 연구에서 활용한 태양열 집열기는 개방형(Open loop) 타입의 집열기며, 추후 밀폐형(Closed loop) 타입의 집열기 성능평가 장치개발 및 성능평가 수행을 할 예정이다.









