1. 서 론
2. 재료 및 방법
2.1 환기량과 포그분무량의 결정
2.2 습공기특성 방정식
2.3 측정 및 제어 시스템
2.4 실험온실
3. 결과 및 고찰
3.1 설정목표온도의 달성 판단
3.2 설정목표습도의 달성 판단
3.3 지배방정식과 제어알고리즘에 대한 판단
3.4 열수지
3.6 환기량
3.7 천창의 개방수준
3.8 엔탈피
3.9 일사량 및 풍속
4. 결 론
기호설명
: 온실표면적(234 m2)
: 온실바닥면적(119.04 m2)
: 온실천창면적(11.8 m2)
: 온실측창면적(14.48×0.67 m2)
: 창문개방분출계수(Wind discharge coefficient of openings) (0.7)
: 물의 비열(1005 J/kg.℃)
: 풍속유효계수(Global wind pressure coefficient, wind effectiveness coefficient) (0.07)
: 온실유리두께
: 온실내 공기엔탈피(J/kg)
: 온실외 공기엔탈피(J/kg)
: 습구온도에서의 물증발잠열량(J/kg)
: 물의 증발잠열(2,454,000 J/kg)
: 중력가속도(9.81 m/s2)
: 물의 증발잠열
: 온실내표면 대류열전달계수
: 온실외표면 대류열전달계수
: 온실내 태양강도
: 온실유리 열전도계수
: 온실커버 총괄열전달계수
: 온실상당높이(2.615 m)
: 온실천창과 측면중심 사이의 높이(2.33 m)
: 온실바닥면적당 분무수(kg/(s.m2))
: 포그분무노즐용량(0.05 kg/s/ 28units)
: 온실내 작물증발산량
: 대기압(101,300 Pa)
: 온실표면을 통한 전열량
: 온실내 포그에 의한 냉각열량
: 온실 바닥을 통한 전열량
: 온실내 공기의 목표온도 도달을 위해 제거해야 할 열량
: 온실내 작물증발산에 의해 제거된 열량
: 태양복사열에 의한 온실내 입열량
: 환기에 의한 전열량
: 온실내 공기의 목표 상대습도(75%)
: 온실바닥으로부터 지중으로의 전열유속(W/m2)
: 온실내 공기의 건구온도(℃)
: 온실외 공기의 건구온도(℃)
: 데어터로그에서의 제어알고리즘 적용 사이클간격
: 데이터로그에서 환경데이터 스캐닝을 위한 시간간격
: 온실내 공기의 설정 목표온도(28℃)
: 온실내 공기의 습구온도
: 온실외 풍속
: 온실 체적(311.3 m3)
: 온실 바닥면적당 체적 환기율(m3/(s.m2))
: 온실 바닥면적당 질량 환기율(kg/(s.m2)
: 절대습도
: 온실내 공기의 절대습도(kgw/kg)
: 온실내 공기의 포화상태에서의 절대습도(kgw/kg)
: 온실내 공기의 절대습도(kgw/kg)
: 온실내 공기 습구온도에서 포화공기의 절대습도(kgw/kg)
: 공기의 밀도
1. 서 론
여름철 온실 내부는 강한 태양에너지로 인해 작물을 재배하기 어려울 정도의 고온이 된다. 그 대책으로서 포그냉방법이 온실 내부의 온습도조절에 대단히 경제적이고 유용하다는 것은 익히 알려진 사실이다. Arbel et al.1)에 의하면 포그냉방법은 미스트냉방법이나 팬앤드패드냉방법에 비해 분무되는 물입자가 공기와 접촉하는 표면적이 넓기 때문에 증발효율이 높다.
이러한 포그냉방법에서 최적의 환기량을 결정하기 위한 방법으로서는 자연환기온실에 대하여 환기회수에 따른 VETH선도를 이용하는 방법이 제안되어 사용되어 왔다2).
환기량은 일반적으로 온실의 측창과 천창의 개방을 통해 확보하게 된다3). 온실의 환기는 내부온도>설정온도>외기온도의 순으로 되어 있을 때는 천창을 열어 환기하는 것이 바람직하고, 내부온도>외기온도>설정온도의 조건에서는 창을 동시에 개방하거나 측창을 모두 열어 환기하는 깃이 유리하다고 하였다. 그리고 환기의 효과는 동시 개방과 두 측창을 연 경우가 가장 효과가 있으며, 측창과 천창의 개방과 천창만의 개방, 한쪽 측창의 개방순으로 나타난다고 하였다.
한편, Min et al.4)은 단순퍼지제어기법을 이용한 제어프로그램을 개발하여 온도제어 측면에서 스텝제어나 PID 제어보다 성능이 우수함을 보인 바 있다. 그리고 Handarto et al.5)은 자연환기량과 포그분무량을 열수지법에 의해 결정하여 제어하는 방법도 검토한 바 있다. 그러나 이 연구에서는 포그분무에 의한 증발냉각열량을 환기량계산에서 반영하지 않았는데 포그냉방을 목적으로 한 연구에서 포그냉방효과를 에너지평형식에 고려하지 않은 것은 정밀제어라고 보기는 어렵다고 할 수 있다.
한편, Kim et al.6)은 포그냉방 온실에서의 측창개폐수준이 온습도 제어에 미치는 영향에 대해서 분석하였으나 그 구체적 관련 방정식과 제어알고리즘, 제어시스템의 구성과 제어프로그램의 구동결과에 대한 유용성과 비교분석은 되어 있지 않다.
이와 같이 온실내 온도와 습도를 제어하는 데 최근에는 이를 동시에 제어하기 위하여 환기량과 포그분무량을 변화하는 기상환경에 맞추어 정확하게 계산하여 제어하는 방법이 등장하고 있다.
온실 내 절대습도는 그 절댓값이 동일하더라도 온도가 다르면 상대습도가 다르게 된다. 한편, 포그분무에 의해 온도가 내려가고 절대습도가 올라가면 상대습도가 상승하기 때문에 작물에 영향을 주게 된다.
따라서 온실에서는 환기량을 동시에 제어하여 온도와 습도를 함께 맞추도록 해야 한다. 온실내에 포그를 분무하면 분무되는 공기의 상태는 습구온도 일정선을 따라서 이동하게 되는데 이 방향은 엔탈피 일정선과 거의 비슷하게 이동한다. 따라서 분무되는 공기를 적절한 환기를 통하여 제어하면 목표로 하는 상대습도와 온도를 획득할 수 있을 것이다.
이러한 제어를 위해서는 물공급량과 온습도, 일사량, 온실 주위와의 열교환량 등을 계산하기 위한 계측기술과 이를 종합하여 물질과 에너지평형식에 의한 정밀제어기술이 필요하다.
따라서 본 연구에서는 여름철 온실내 고온대책으로써 포그냉방법을 이용할 경우 습도도 동시에 제어할 수 있는지 알아보고자 하였다. 이를 위해 에너지와 수분에 대한 이론방정식과 장치제어알고리즘을 구축하고 이에 따른 실험을 수행하고 분석하였다. 이를 통하여 여름철 온실내 온습도를 저비용으로 동시제어하고자 하였다.
2. 재료 및 방법
2.1 환기량과 포그분무량의 결정
Shin et al.7)은 고속버스 자연환기용 환기량에 대해 분석하였으며, 자연환기에 의해 외기냉방이 가능하다고 하였다. 그리고 Kim et al.8)은 사례연구를 통한 다목적 그린하우스의 에너지절약계획에서 효과적인 자연통풍을 위하여 온실 상층부에 전동기로 가동되는 되는 환기창을 설치하고 하부에는 가동창을 설치하므로서 맞통풍이 일어나도록 계획한 바 있다.
본 연구에서는 포그분무량과 환기량을 결정하기 위해 온실 내의 온도와 습도를 예측하기 위한 Agmail9)의 모델을 참조하여 온실 내 물질평형식과 에너지평형식을 식(1), (2)와 같이 정립하였다. 그러나 Agmail9)의 모델에서는 환기량의 제어를 팬으로 강제환기하였으나 본 연구에서는 측창과 천창의 열림수준을 외부풍속의 수준에 맞추어 필요량을 계산하고 제어하였다. 그리고 식(1)의 물질평형식에서 Handarto et al.5)의 경우 환기에 의해 외기로 방출되는 수분량을 나타내지 않았으나 환기에 의한 영향을 무시할 수 없을 것이므로 본 연구에서는 이를 고려하였다.
또한 본 연구의 경우 온실내 작물이 들어 있지 않는 경우로서 식(1)에서의 작물에 의한 증발산량 M_plant는 零으로 취급되게 된다. 식(1)의 오른쪽 항목은 각각 제어사이클기간 중 온실 내 목표상대습도에 도달하기까지 공급해야 할 수분량, 사이클기간 중 환기에 의해 외부로 나가는 수분량, 작물의 증발산에 의한 수분의 증가량으로 구성된다.
(1)
온실 내의 에너지평형식은 식(2)와 같다. 이 식은 환기량을 결정하기 위한 것으로서 식 좌변항의 환기에 의한 온실 내 에너지변화는 엔탈피 항으로서 식(3)과 같이 계산되는데, 이 변화량은 식(2)에 나타난 온실 내 에너지평형관계식에서 결정된다.
온실 내 에너지평형식(2)의 오른쪽 항은 각각 태양열부하, 목표온도까지의 부하, 외기로의 온실피복표면전열량, 지중전열량, 작물에 의한 열량, 포그냉방량을 나타내고 있으며 각각 증가와 감소부하로서 작용된다.
그리고 온실 내 포그로 분무되는 물은 수돗물을 탱크에 받아서 사용하게 되는데, 공급되는 물의 온도는 약 25℃ 수준으로써 이 온도와 온실 내 공기온도차에 의한 현열량은 그 온도차와 물의 유량을 고려할 때 잠열량에 비해 상당히 적은 것으로 판단하였다.
(2)
(3)
(4)
(5)
(6)
(7)
(8)
(9)
위의 식에서 Q_cover는 온실피복면을 통해 온실 내외로 전달되는 전열량으로서 단위면적당 총괄열전달계수는 Ks=1/(1/ho+dx/k +1/hi)로서 구해진다. Suhardiyanto et al.10)에 따르면, 외기와 온실피복면과의 외기대류열전달계수는 풍속에 크게 영향을 받으며, 내부공기와 온실피복면과의 내부대류열전달계수는 내부공기의 대류영향에 따라 달라지는데 Businger11)에 따르면 이 계수는 온실크기나 환기의 량에 따라 1.2∼4.6 W/(m2.K) 범위 내에 있다고 하였다. 여기서는 Suhardiyanto et al.10)이 제안한 관계식에 온실유리두께와 열전도율을 적용하여 다음과 같이 계산하였다.
(10)
식(1), (2), (3)은 포그분무량과 환기량이 서로 포함되어 있어서 이 식을 연립으로 하여 해를 구하면 각각 포그분무량과 환기량이 구해진다.
한편, 계산된 요구 환기량을 확보하기 위하여 열어야 할 측창과 천창의 개폐정도는 Kittas et al.12)에 의한 관계식을 이용하였으며, 식(11)과 같다. 이 식은 온실 내 환기가 굴뚝효과와 외기의 풍속의 영향 두 부분으로 구성되며, 식 중 계수 Cd는 wind discharge coefficient, Cw는 wind effectiveness coefficient로서 각각의 값은 Kittas et al.13), Molina-Aiza et al.14), Guerrero et al.15), Teitel et al.16), Shu-zhen et al.17)을 참조하여 Cd=0.7, Cw=0.07로 하여 계산하였다.
(11)
열림창 면적은 환기에 의해 물질과 에너지의 평형을 맞추는 것을 목표로 하지만 온실 내에 분무되는 물의 증발이 동반되는 것을 전제로 하기 때문에 장기적으로 볼 때 증발이 이루어지도록 하는 기본적인 환기면적이 전제되어야 한다. 본 연구에서는 대개의 시설온실의 경우와 같이 측창은 수동으로 일정한 수준으로 개폐할 수는 있지만 자동으로 개폐되지는 않고 천창은 제어명령에 의해 전기적으로 개폐될 수 있도록 되어 있다.
그런데 제어측면에서 살펴보면 사이클마다 달라지는 환경수준에 따라 정밀제어하려면 측창과 같이 제어할 수 없는 부분은 적고 제어할 수 있는 부분이 많을수록 제어효과가 뚜렷하게 나타날 것이기 때문에 여기서는 측창은 완전히 닫은 채 천창만 제어하는 방법으로 환기량을 확보하도록 하였다.
즉, 제어의 영역이 커서 효과가 뚜렷하게 나타나도록 하였다. 이에 따라 식(11)에서의 측창면적 Ar은 零으로 하고 천창면적만 계산하여 그 값이 되도록 천창을 제어하였다.
2.2 습공기특성 방정식
기본방정식들에 포함된 공기의 특성값을 계산하기 위한 포화수증기압, 수증기분압, 절대습도, 물의 증발잠열, 이슬점온도, 이슬점에서의 물의 증발잠열, 엔탈피 등은 ASHRAE standard18)를 이용하여 계산하였으며, 엑셀에서 프로그램하여 계산하였다.
특히 측정한 건구온도와 상대습도를 이용하여 습구온도를 계산하는 프로그램은 인터넷상에서 구할 수는 있으나 본 논문에서와 같이 연속적으로 다량의 데이터를 습구온도로 계산해야 하는 경우에는 적절치 않으므로 아래와 같이 온실 내의 건구온도와 상대습도를 이용한 습구온도의 계산은 ASHRAE standard18)에 나타난 바와 같이 습구에서의 에너지평형관계식을 적용하여 엑셀에서 직접 프로그램하여 연속 계산하였다.
(12)
2.3 측정 및 제어 시스템
측정 및 제어에는 데이터로거(CR1000, Campbell Sci. Inc. USA)를 이용하였으며, 제어프로그램은 캠벨 사의 CRBASIC을 이용하여 정립된 방정식들을 코딩하여 제어하였다. 측정항목과 센서들은 Table 1과 같으며, 제어시스템에 연결하여 경시별 값들을 읽어 들여 제어에 사용하였다.
측정항목 중 일사량과 건구온도, 상대습도, 압력, 결로현상의 측정위치는 온실 내 적용될 작물의 상황 등을 고려하여 중앙부 바닥으로부터 160 cm 높이에 설치하였는데, 이때 온실 구조물에 의해 태양광이 가려지지 않도록 유의하였다. 그리고 풍속과 외기 건구온도, 상대습도, 압력, 강우량 등은 온실 바깥에 기상관측대를 설치하여 측정하였다. 이때 퐁속계는 온실천창 높이를 고려하여 설치하였다. 각종 센서와 장비의 설치는 온실구조와 기능, 센싱의 합리성 등을 고려하여 배치하였다. Fig. 2(a)에 기상스테이션 위치, 펌핑시스템과 제어시스템의 위치, 지중전열유속측정센서와 온실내 기상자료를 측정하기 위한 위치를 나타내었다.
2.4 실험온실
실험에 사용된 온실은 대학캠퍼스 내 설치된 유리온실로서 바닥면적 119 m2, 피복면적 234 m2인 동서동의 온실로서 크기가 폭 3.1 m, 길이 6.4 m, 지붕높이 3.73 m, 측고 2.1 m이었다.
환기를 위한 장치는 남북방향의 상단에 설치된 팬은 구동하지 않고 천창과 측창에 의해 자연환기가 되도록 하였으며, 온실 내부에는 공기의 순환을 위한 이동식 소형순환팬이 3개 설치되어 있다. 천창과 측창은 각각 남북 양방향으로 나뉘어 있고 천창은 완전히 열릴 시 총 옆면적은 11.8 m2가 열리게 되며, 열리는 데 소요되는 시간은 110초였다. 측창은 미닫이형의 유리창으로서 총면적은 14.48 m2이며, 방충망이 설치되어 있다. Kittas et al.12)에 의하면, 측창에 방충망이 있으면 환기량이 33% 줄어든다고 하였다.
그리고 환기의 방법으로써는 측창과 천창을 병행하는 것이 가장 효과적이고, 그 다음이 측창만 있는 경우로서 병행하는 것에 비해 46% 감소, 그 다음이 천창만 있는 경우로서 71% 감소한다고 하였다. 한편, Jolliet19)에 의하면 방충망이 있을 때에는 유효면적계산상의 계수가 25% 줄어든다고 하였다.
실험 온실 내에는 재배중인 작물은 없으며, 포그를 분무하기 위한 노즐은 동서로 14개씩 총 28개의 노즐이 바닥으로부터 약 2.2 m의 높이에 설치되어 있으며 전체노즐의 최대분무능력은 0.05 kg/s이다. 이때 포그의 분무는 압축공기를 이용한 이류체분무방식으로 하였다.
2.5 제어실험방법
환경측정 센서에 의해 읽어 들인 데이터는 기본방정식들에 의해 계산을 거친 다음 제어장치에 의해 천창을 자동개폐하고 계산된 분무량이 목표시간 동안 분무되도록 제어하였다.
천창의 열림 정도는 기본방정식에 의해 결정된 천창개폐면적에 해당하도록 현재의 열림 상태에서 목표 열림 상태가 되도록 열림 신호와 닫힘 신호의 지속시간을 통해 제어하였다. 최대열림상태인 11.8 m2가 되려면 완전 닫힘상태에서 110 s 동안 열림모터를 작동시켜야 하므로 비례관계를 이용하여 제어하였다.
측창의 경우 방충망이 설치되어 있기 때문에 Kittas et al.12)에 의한 환기량감소계수 33%를 적용하여 제어하였다. 실험온실의 온습도 제어목표는 160 cm 위치에서의 온도와 습도를 각각 28℃, 75%로 설정하였다.
이는 작물의 적정생육온도가 온실과채류나 화훼류는 최대 약 35℃까지, 엽근채류는 약 25℃까지 유지하는 것이 필요하며20), 상대습도의 경우 여름철 50 %이하로 되면 수분스트레스를 유발할 가능성이 크고, 병해방지와 수확량 확보를 위해 85% 이하로 유지하는 것이 좋기 때문이다.
제어프로그램에서 포그분무사이클은 기본적으로 포그분사기간과 포그분사대기기간으로 구성되며 매 사이클당 분무시간간격은 사이클마다 동일하게 하는 방법과 사이클마다 다르게 하는 방법이 있을 것이다.
통상적인 방법으로서 포그분무기간과 포그대기기간을 각각 일정한 값으로 하여 구동하는 방법이 있다. Nam21)에 의하면 분무기간을 40초, 포그대기기간을 90초로 반복하도록 타이머를 설치하여 제어하는 실험을 수행하였는데, 이러한 방법은 온실 내 열부하가 외기일사량이나 풍속에 따라 상당히 달라지는 점을 고려하면 사이클간의 변동은 물론이고 실험공간의 온습도가 일정 목표 온습도와는 상당한 편차를 가지고 진동할 것이 예산된다15).
그리고 Handarto et al.22)에 의하면 사이클 기간을 일정하게 하고 그 기간 중 포그 분무량을 열부하와 습도부하에 맞추어 제어하는 방법에서는 사이클 기간이 60초인 경우가 120, 240초인 경우에 비해 온습도의 변동변차가 적게 나타나는 것이 확인되었다. 따라서 사이클기간은 짧을수록 목표온습도로부터의 편차가 줄어들게 될 것이므로 여기에서는 목표 온습도의 정밀제어 가능성에 대한 확인을 위해 30초 간격으로 제어하였다.
실험은 초기에 온실 내 온도가 상당히 높게 상승한 후에 실험을 시작하였으며, 실험을 시작하면서 온실 내의 온도를 빠른 시간 내에 하강시키기 위하여 초기 2분 동안은 천창을 50% 열린 상태가 되도록 명령을 주어 수행하였다. 초기부터 천창을 완전히 닫힌 상태에서 제어를 하더라도 목표온습도에 수렴해가는 것을 확인하였지만 가능하면 빠른 시간 내 목표 온습도로 수렴시키기 위하여 이와 같은 방법으로 이를 도입하였다.
온실 내로 분무되는 물의 증발률은 Li and Willitsa23)에 의하면 온실 내외의 절대습도 차이와 환기율 등에 의해 달라지게 되는데, 특히 온실 내외의 절대습도의 차이에 의해 강하게 영향을 받는다고 하였다. 그에 의하면 고압 분무 시 약 70%의 증발률을 나타내었는데, 본 연구에서는 증발률을 70%로 하여 적용하였다.
외기풍속은 순간적으로 급변하기 때문에 이를 전체사이클을 대표하는 값으로 프로그램에 적용하기는 적절치 않으므로 전단계 사이클기간의 평균풍속을 다음단계 사이클기간의 환기량 계산에 적용하였다.
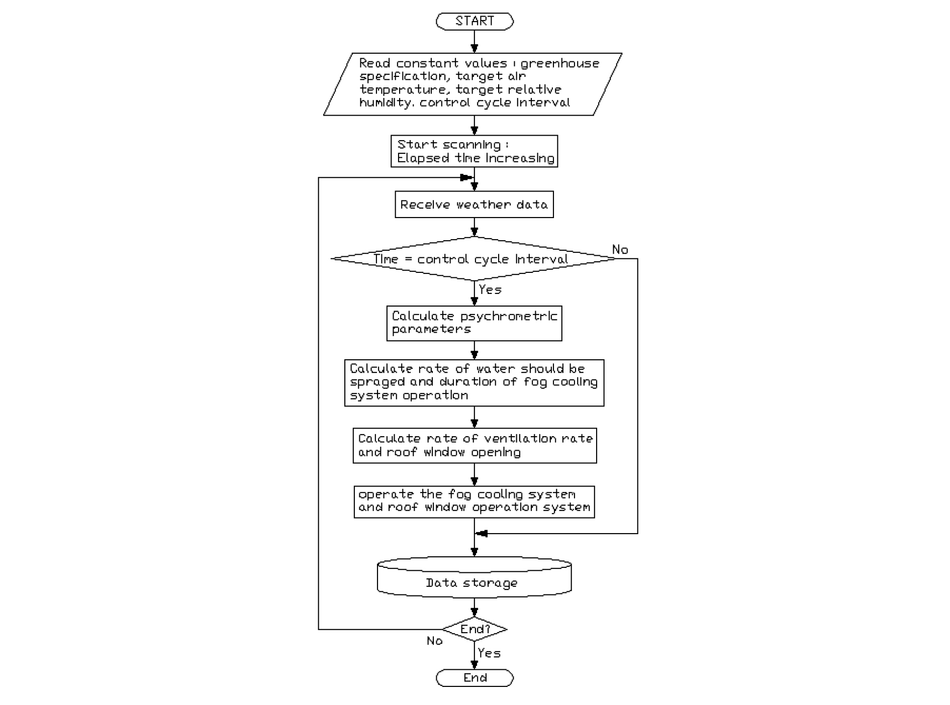
분무와 환기량제어를 위해 사용된 논리의 흐름도는 Fig. 1과 같다. 실험은 2011년 9월 7일 오전 10시 40분부터 오후 12시 40분까지 1시간 30분 동안 실시하였다.
3. 결과 및 고찰
3.1 설정목표온도의 달성 판단
외기의 경시별 온도변화를 살펴볼 때 외기의 온도는 오전 일사량이 강해짐에 따라 실험초기 약 26℃에서 실험이 종료되는 약 1시간 30분 뒤에는 약 29℃까지 상승하였으며, 온실내의 제어된 온도는 초기 약 36℃에서 점차 하락하여 나중에는 약 28℃ 정도로 유지되었다.
실험기간 중 제어가 본격적으로 이루어지기 시작하는 실험시작 약 10분 후부터 실험종료 시까지의 온실 내 건구온도의 표준편차는 약 0.37℃, 목표치와의 편차는 평균 약 0.17℃를 나타내었다. 그러나 실험후반부에 편차가 1.1℃로 나타났는데 앞으로 시뮬레이션 등과 같은 방법을 통해 본 연구에서의 이론과 알고리즘이 조건없이 적용될 수 있을지 검토할 필요가 있다고 판단된다.
한편, 온실 내의 습구온도는 포그 분무 시 도달할 수 있는 최저온도를 제시해주는데, 온실 내 습구온도는 초기 약 29℃에서 점차 하강하여 실험기간 중 약 25℃ 정도에서 유지되었고 외기의 습구온도는 실험기간 중 평균 약 18℃로써 비교적 일정하게 유지되었다.
3.2 설정목표습도의 달성 판단
온실 내부와 외부의 습도는 제어가 본격적으로 시작된 10시 45분 이후부터 실험이 종료되는 시점까지의 평균을 살펴볼 때 온실 외부는 약 41.0%, 온실 내부는 약 75.2 %를 나타내었다. 온실 외부의 경우 태양광이 강해짐에 따라 건구온도가 상승하게 되므로 상대습도가 서서히 하강하는 것으로 나타나지만 온실 내부의 경우는 비교적 일정하게 유지되는 것으로 나타났다.
온실 내부의 평균습도는 목표 설정상대습도 75%에 맞추어 상당히 잘 제어되는 것으로 판단된다. 그런데 온실 내 제어된 공기의 상대습도의 변동범위가 표준편차 약 7% 범위로써 평균치를 중심으로 진동하고 있는데, 이는 풍속의 영향과 함께 포그가 분무되는 기간중에는 상대습도가 올라가고 포그가 분무되지 않는 대기기간 중에는 포그 없이 태양광과 같은 열유입에 의해 건구온도가 올라가기 때문에 차이가 나는 것으로 판단되었다.
3.3 지배방정식과 제어알고리즘에 대한 판단
Handarto 등5)은 자연환기온실에서의 고압포그냉방시스템을 위한 제어논리개발연구에서 온실환기량결정을 온실 내 설정목표온도에 도달하기 위한 필요한 에너지양을 이용하여 계산하고 이를 기준으로 분무량을 결정하였는데, 이러한 환기량을 제어하지 않는 방식으로는 온실 내 건구온도를 목표온도로 유지하기 어려웠던 것으로 판단된다.
본 연구에서는 측창과 천창의 열림수준과 풍속을 함께 검토하여 풍속을 결정하고 그것에 따른 에너지와 물질의 유입변화량을 온실 내 온도와 습도를 설정목표에 도달하도록 에너지평형식과 물질평형식에 반영하고 이를 근거로 분무량과 창문개폐량을 동시에 제어하였기 때문에 설정목표온도와 습도에 접근할 수 있었다고 평가된다.
아울러 Handarto 등22)의 자연환기에 의한 포그냉방제어논리에 대한 실험연구에 따르면 이 실험연구에서는 환기량을 제어하지도 않았고 포그분무량 계산에서 유입되는 외부환기량에 포함된 수분을 고려하지 않았었기 때문에 온실 내 설정목표온도 중심의 제어가 어려웠던 것으로 판단되었다.
이에 비해 본 연구의 방법에서는 설정목표온도와 습도에 상당히 잘 접근할 수 있는 것으로 나타났다. 또한 Handarto 등22)의 제어사이클기간 연구에서 사이클기간이 60초인 경우가 120, 240초인 경우보다 정밀제어가 가능하다고 하였었는데, 본 연구에서는 이를 고려하여 제어사이클기간을 30초 간격으로 하여 제어하였던바 제어사이클이 안정된 기간의 사이클 간 온도편차가 설정온도 28℃, 실현온도평균 28.16℃, 표준편차 0.37℃로서 상당히 제어가 잘 되고 있는 것으로 나타났다.
동시에 습도의 경우도 설정 상대습도 75%, 실현습도평균 76.4%, 표준편차 2.84%로서 안정적으로 제어되는 것으로 나타났다.
이러한 결과는 또한 Agmail9)의 연구에 의한 제어결과보다 우수한 것으로 나타났다. Agmail9)의 경우 온실 내 설정 목표건구온도를 외부온도보다 3℃ 낮도록 하고 설정 목표 상대습도는 외기의 상대습도보다 15∼20% 높도록 하였던바, 실현된 온실 내 건구온도는 설정온도의 ±2℃, 상대습도는 설정상대습도의 ±10% 범위에 있다고 하였는데, 본 연구에서의 결과는 이보다 우수한 제어결과를 나타낸 것으로서 이는 환기량의 정밀계산과 제어, 분무량의 계산과 제어사이클의 합리적 선택을 포함한 결과인 것으로 판단된다.
3.4 열수지
Jang et al.24)은 유리온실 시설의 연간 냉난방 부하 및 에너지 시뮬레이션에 관한 연구에서 항온항습을 전제로 한 유리온실의 연간 냉난방에너지부하를 시뮬레이션한 바 있다. 이러한 시뮬레이션과는 달리 본 실험에서는 실험계측에 따른 열수지분석을 실시하였다. 온실 내의 열수지는 Fig. 4와 Table 2에 나타내고 있으며, 표시된 값들은 온실 전체에 대한 값을 나타내고 있다.
온실의 열부하 입력항을 살펴보면 실험이 경과됨에 따라서 태양일사강도가 세어져서 그에 따른 온실내 열부하가 증가하고 있는 것을 알 수 있으며, 태양일사량 Q_solar에 의해 증가되는 열량이 85,195.3 W로서 약 96.4%를 차지하고 온실내 온도를 측정온도에서 목표온도로 낮추기 위해 제거해 주어야 할 열량은 약 3.6%로서 적은 값을 나타내고 있다. 이러한 유입되는 열부하는 주로 포그분무에 의한 Q_fog와 환기에 의한 Q_vent에 의해 제거되고 있으며, 그 비율은 포그에 의한 비율이 약 40.8%, 환기에 의한 비율이 53.9%로써 대부분을 차지하고 있다.
그리고 유리커버를 통한 방열량 Q_cover는 0.6% 정도로서 매우 적은 양이며 이는 온실 내외의 온도차가 적기 때문으로 판단된다.
지중으로 전열되는 양 Q_soil은 4,076.4 W로써 이는 지표면 열유속에 의해 좌우되는데 실험기간 중 평균 열유속은 약 34.1 W/m2로 나타났다. 이것으로 인한 지중으로의 방열량은 온실 내에서 방열되는 열량의 약 4.6%를 차지하는 만큼 무시해서는 안 되는 것으로 판단된다.
3.5 포그분무량
실험기간 1시간 30분, 즉 5,400초 동안 사이클수는 181사이클, 스캐닝횟수는 1,086회, 총포그분무시간은 2,257초, 사이클당 평균 분무시간은 12.5초를 나타내었다. 포그분무량은 포그분무시간에 단위시간당 분무량을 곱하여 구해지는데 실험기간 중 총분무량은 노즐분무능력 0.05 kg/s를 고려하면 112.85 kg이었다. 이는 초당평균 0.021 kg/s에 상당하며 온실단위면적당으로 보면 0.000176 kg/s/m2에 상당한다.
3.6 환기량
환기량은 온실의 측창이 닫혀 있기 때문에 천창을 통해 이루어지는데 실험기간 중의 평균환기율은 온실바닥 단위면적당 0.013 m3/(s.m2)으로 나타났으며, 이는 Handarto et al.19)에 의한 0.01 m3/(s.m2)과 비슷한 수준을 나타내고 있다.
표준편차는 약 0.00284 m3/(s.m2)로서 비교적 큰 변화가 없는 편이었던바 이는 일사량이 비록 서서히 상승하고 있긴 하지만 급격한 변화는 없었기 때문으로 판단된다.
3.7 천창의 개방수준
천창의 개방수준은 전 실험기간에 걸쳐 전반부 일부시기를 제외하고는 거의 완전히 개방된 상태, 즉 11.8 m2를 유지하였는데, 이는 강렬한 일사량과 외기조건 그리고 풍속 등의 영향에 따라 결정되었으며 측창이 닫혀 있기 때문에 천창개방면적이 증대된 것으로 판단된다. 한편, 태양에너지강도가 더욱 강해져서 필요 환기량이 더욱 많아져야 할 경우를 생각하면 측창의 개방수준에 따른 검토도 필요할 것으로 판단된다.
3.8 엔탈피
엔탈피의 변화를 살펴보면 외기의 경우 평균 50,742 J/kg, 표준편차 4,096 J/kg으로서 상당히 일정한 수준을 유지하고 있었으며, 온실 내 공기의 경우 온습도가 안정된 10시 50분경부터는 약 73,000 J/kg 정도였으며, 실험후반에는 81,000 J/kg까지 변화하고 있는 것으로 나타났다.
온실 내 엔탈피의 평균은 실험이 안정된 10시 50분 이후의 경우 약 75,500 J/kg이었으며, 표준편차는 2,500 J/kg이었다. 실험의 제어목표로 삼은 건구온도 28℃, 상대습도 75%의 엔탈피는 73,930 J/kg인 점을 고려하면 비교적 가까운 범위로 유지되는 것으로 판단되었다.
3.9 일사량 및 풍속
온실내 태양일사강도는 정오가 가까워지면서 점점 증가하였다. 실험기간 중 온실 내의 평균 태양강도는 712.9 W이었으며, 표준편차는 26.2 W 정도로서 비교적 안정된 변화를 보였다.
풍속은 실험기간 중 평균 0.558 m/s의 속도를 나타내었으며, 최대속도 2.313 m/s, 표준편차 0.46 m/s로서 심한 변동을 나타내고 있었다.
따라서 제어에서는 순간값에 의해 다음 단계의 환기량이나 전열량을 계산하게 되면 오차가 상당히 발생할 수 있기 때문에 다음단계의 계산을 할 때에는 전단계사이클에서의 풍속을 평균값을 적용하여 계산하였다.
4. 결 론
(1) 본 연구에서는 하계 강한 태양에너지에 의한 온실 내 고온 대책으로서 온도와 습도를 동시에 제어하는 포그분무냉방시스템을 개발하였다. 외기풍속과 온실천창의 열림수준조절에 의한 자연대류강도의 제어, 분무수량의 조절에 의해 온실내 공기엔탈피와 수분량을 제어하여 온도와 습도를 동시에 제어하고 그 시스템의 타당성을 확인하였다.
(2) 제어실험에서 온실 내의 제어된 온도는 초기 실험이 안정된 후 평균 28.2℃, 표준편차 0.37℃ 정도로서 제어목표로 설정한 28℃에 맞게 잘 제어되고 있는 것으로 나타났다. 외기의 경우 평균 27.2℃, 표준편차 0.54℃이었으며, 온실 내 습구온도의 평균은 24.8℃를 나타내었다. 온실내부의 평균습도는 약 75.2%로서 목표 설정상대습도 75%에 맞추어 상당히 잘 제어되고 있는 것으로 나타났으며, 이때 온실 외부의 상대습도는 약 41.0%이었다.
(3) 온실 내 입력열량을 살펴보면 태양일사량에 의해 증가되는 열량이 85,195.3 W로서 약 96.4%를 차지하고 온실 내 온도를 측정온도에서 목표온도로 낮추기 위해 제거해주어야 할 열량은 약 3.6%로써 적은 값을 나타내고 있었다. 온실 내 더해지는 열부하는 주로 포그분무에 의한 제거열량과 환기에 의한 제거열량에 의해 상쇄되고 있으며, 그 비율은 포그에 의한 비율이 약 40.8%, 환기에 의한 비율이 53.9%로서 대부분을 차지하고 있었다. 유리를 통한 방열량은 0.6% 정도로서 매우 적은 양이며, 이는 온실 내외의 온도차가 적기 때문으로 판단되었다. 그리고 지중으로 전열되는 양은 4,076.4 W로서 실험기간중 평균 열유속은 약 34.1 W/m2로 나타났는데, 이것으로 인한 지중으로의 방열량은 온실 내에서 방열되는 열량의 약 4.6%를 차지하는 만큼 무시해서는 안 되는 것으로 판단된다.
(4) 실험기간 1시간 30분 동안 총사이클수는 181사이클, 스캐닝횟수는 1,086회, 총포그분무시간은 2,257초, 사이클당 평균 분무시간은 12.5초를 나타내었다. 총분무량은 112.85 kg이었으며, 이는 초당평균 0.021 kg/s에 상당하며 온실단위면적당으로 보면 0.000176 kg/s/m2에 상당한다.
(5) 환기량은 온실의 측창이 닫혀 있기 때문에 천창을 통해 이루어지는데, 실험기간 중의 평균환기율은 온실바닥 단위면적당 0.013 m3/(s.m2)으로 나타났으며, 표준편차는 약 0.00284 m3/(s.m2)로서 비교적 큰 변화가 없는 편이었던바, 이는 일사량이 비록 서서히 상승하고 있긴 하지만 급격한 변화는 없었기 때문으로 판단되었다.
(6) 천창의 개방수준은 전 실험기간에 걸쳐 전반부 일부시기를 제외하고는 거의 완전히 개방된 상태, 즉, 11.8 m2를 유지하였으며, 이는 강렬한 일사량과 외기조건 그리고 풍속 등의 영향에 따라 결정되었고, 측창이 닫혀 있기 때문에 천창개방면적이 증대된 것으로 판단되었다.
(7) 엔탈피는 외기의 경우 평균 50,742 J/kg, 표준편차 4,096 J/kg으로써 상당히 일정한 수준을 유지하고 있었다. 온실 내 엔탈피의 평균은 실험이 안정된 10시 50분 이후의 경우 약 75,500 J/kg이었으며, 표준편차는 2,500 J/kg이었다. 실험온실 내 공기의 제어목표로 삼은 건구온도 28 ℃, 상대습도 75%의 엔탈피는 73,930 J/kg인 점을 고려하면 비교적 가까운 범위로 유지되는 것으로 판단되었다.
(8) 실험기간 중 온실 내의 평균 태양강도는 712.9 W이었으며, 표준편차는 26.2 W 정도로서 비교적 안정된 변화를 보였다. 풍속은 실험기간 중 평균 0.558 m/s의 속도를 나타내었으며, 최대속도 2.313 m/s, 표준편차 0.46 m/s로서 심한 변동을 나타내고 있었다. 따라서 제어에서는 순간값에 의해 다음 단계의 환기량이나 전열량을 계산하게 되면 오차가 상당히 발생할 수 있기 때문에 다음 단계의 계산을 할 때에는 전단계사이클에서의 풍속을 평균값을 적용하여 계산하였다.















